Заборы
Монтаж забора «Престиж»
(ширина стандартной стенки – 145 мм, размеры столба в сечении 390х290 мм)

- установить фундамент, предусмотрев вертикальные выпуски из арматуры по месту размещения столбов;
- установить на фундамент первый ряд блоков «в замок» без раствора в швах;
- для перевязки блоков по вертикали сдвинуть блоки в одном из слоев на половину стандартной высоты блока – установить доборные блоки высотой 95 мм; в отсутствие последних забить в зазор между блоками из соседних рядов отрезки арматуры, не сдвигая блоки;
- для расклинивания блоков заполнить зазор между блоками сухой цементно-песчаной смесью;
- повторить указанные шаги до достижения проектной высоты забора;
- заполнить бетоном внутренние проармированные пустоты в столбах;
- установить накрывочные блоки на раствор с расшивкой швов, предварительно дополнив сдвинутый вниз слой блоков верхнего ряда доборным блоком;
- обработать накрывочные блоки гидрофобизирующим составом.

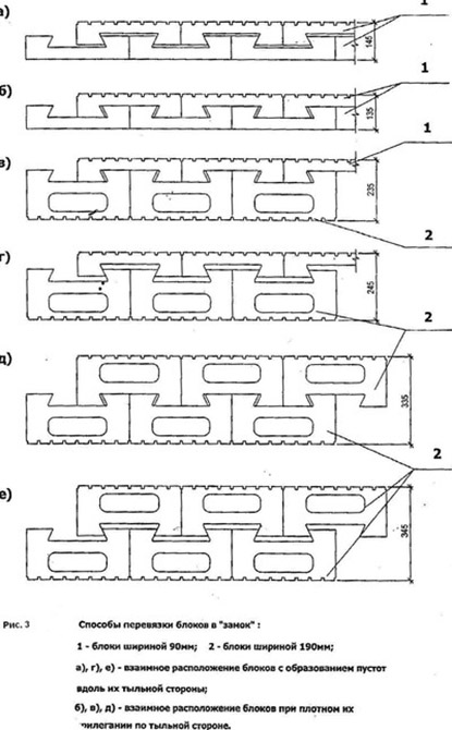
Ширина стенки забора - 145 мм, 245 мм или 345 мм зависит от ширины применяемых блоков (рис.3). При установке блоков без раствора в швах из-за допустимого разброса их размеров в пределах 2 мм возможно неплотное прилегание блоков друг к другу. В этом случае рекомендуется в верхнем из соседних рядов устанавливать блоки, переворачивая их основанием вверх.
На рис. 4 -7 приведены типовые решения по устройству столбов из рустованных блоков: рядовых с лицевой поверхностью в одну сторону (рис.4) и в две стороны (рис.5), углового (рис.6), усиленного (рис.7). В первом случае используется замковое соединение блоков, для остальных необходимы закладные детали.
Монтаж заборов "Эконом"
(ширина стандартной стенки – 145 мм, размеры столба в сечении 390х290 мм)

- выполнить кладку стенок забора двухсторонними рустованными блоками шириной 90 мм на связующем растворе, заклинив стенки между блоками «зигзаг» столбов и применяя горизонтальное армирование;
- одновременно с кладкой вести заполнение бетоном проармированных пустот между блоками в столбах;
- обработать швы между блоками гидрофобизирующим составом.
При применении блоков «зигзаг квадро» в заборе «Эконом» они заменяют в его стенках блоки «зигзаг» двухсторонние рустованные. При этом используется схема сборки блоков «в замок», рассмотренная выше для забора «Престиж».
Применение блоков столбовых позволяют упростить монтаж соединения стенок забора со столбами.
Монтаж забора из блоков «зигзаг квадро»
(ширина стенки – 80 мм, размеры столба в сечении 330х330 мм)
- по предварительно выполненном чертежу забора, на котором указано положение столбов и длина стенок, разметить место установки столбов на территории; при этом длина стандартной стенки выбирается, как правило, соответствующей 6 - 7 блокам «зигзаг квадро» длиной 400мм
- забетонировать фундамент, предусмотрев вертикальные выпуски из арматуры по месту размещения столбов;
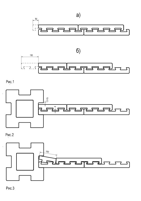
- установить на фундамент на выравнивающий слой кладочного раствора, но без раствора в швах, несколько столбовых блоков для каждого столба и «в замок» первый ряд блоков «зигзаг квадро»; при этом оба крайних соединенных «в замок» блока стенки должны быть заведены в паз на стороне столба – для этого один из них должен быть укорочен (отрезан) на 50 мм или 150 мм (рис.1, а, б);
- заполнить бетоном подвижности П.2 («жестким») внутренние про армированные пустоты в столбовых блоках до половины высоты верхнего из них;
- раздвинуть соединенные «в замок» блоки «зигзаг квадро» и заполнить зазор между ними около 8 мм песком, цементно-песчаной смесью или «жестким» раствором); при этом для фиксации зазора временно можно использовать отрезки арматуры; заполнение зазора песком или цементно-песчаной смесью следует выполнять в несколько приемов, каждый раз добавляя в зазор немного воды, что позволит уплотнить цементно-песчаную смесь и в результате надежно зафиксировать блоки относительно друг друга;
- надежно зафиксировать крайние в стенке блоки в пазах столба; для этого можно воспользоваться одним из приемов:
- зачеканить зазор около 15 мм в месте соединения стенки и столбов раствором с обязательной обработкой его в последующем гидрофобизирующим составом для исключения появления высолов из шва (рис. 2);
- заклинить стенку в пазах столба отрезком блока; для этого отрезать от крайнего блока стенки вставку длиной 150 мм (см. рис. 1, б)и вставить её сверху в блок и в паз под углом; заполнить образовавшийся зазор цементно - песчаной смесью или раствором (рис. 3);
- повторить указанные шаги, начиная с третьего, до достижения проектной высоты забора; при этом желательно через три – пять ряда блоков стенок для их надежной связи по вертикали применить клей по горизонтальному торцу блоков;
- установить на клей накрывочные фигурные блоки БН-190.230.90 по верху стенок и плоские накрывочные блоки 1КБОР-ЦС-М-4.1.2 по верху столбов;
- согласно принятого дизайнерского решения вклеить в пазы столбовых блоков декоративные элементы – блок «зигзаг квадро», лицевой вибропрессованный кирпич и т.п. или оставить пазы пустыми.
Примечания.
1. В условиях возможного выпадения осадков во время перерывов в выполнении работ по сборке забора до момента установки накрывочных блоков следует временно защитить верхнюю часть забора от попадания воды.
2. Расход изделий:
на 1 м столба - 5 столбовых блоков, 2 плоских накрывочных блока;
на 1 м2 стенки - 50 блоков «зигзаг квадро»; на 1 м п стенки- 5 фигурных накрывочных блоков.